Saat Anda mendapatkan pin split yang Hemat Biaya, pin tersebut mungkin dilengkapi dengan sertifikat kualitas. Ini pada dasarnya adalah dokumen yang menyatakan pin split telah diperiksa dan memenuhi standar tertentu.
Sertifikat tersebut mencantumkan rincian tentang pin split - siapa yang membuatnya, terbuat dari apa, ukurannya, dan dari batch mana pin tersebut berasal. Hal ini menunjukkan bahwa pin belah telah diuji untuk hal-hal seperti kekuatan, keakuratan ukuran, dan apakah pin tersebut dapat ditekuk dengan benar tanpa patah. Mereka juga memeriksa apakah perawatan permukaan, seperti pelapisan seng, dilakukan dengan benar.
Sertifikat tersebut ditandatangani dan dicap oleh pemeriksa yang melakukan pengujian. Dokumen ini berguna bagi bisnis yang perlu membuktikan pin split mereka memenuhi persyaratan tertentu, terutama di industri seperti otomotif atau manufaktur yang mengutamakan pelacakan kualitas. Ini pada dasarnya adalah jaminan Anda bahwa pin split telah diperiksa dengan benar sebelum Anda menerimanya.
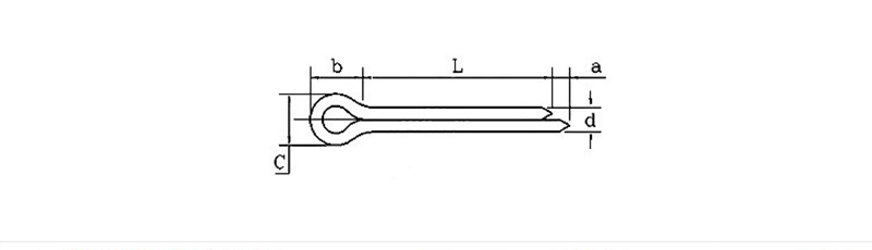
| d | 0.6 | 0.8 | 1 | 1.2 | 1.5 | 2 | 2.5 | 3.2 | 4 | 5 | 6.3 | 8 | 10 | 13 | 16 | 20 | |
| d | maks | 0.5 | 0.7 | 0.9 | 1 | 1.4 | 1.8 | 2.3 | 2.9 | 3.7 | 4.6 | 5.9 | 7.5 | 9.5 | 12.4 | 15.4 | 19.3 |
| menit | 0.4 | 0.6 | 0.8 | 0.9 | 1.3 | 1.7 | 2.1 | 2.7 | 3.5 | 4.4 | 5.7 | 7.3 | 9.3 | 12.1 | 15.1 | 19 | |
| a | maks | 1.6 | 1.6 | 1.6 | 2.5 | 2.5 | 2.5 | 2.5 | 3.2 | 4 | 4 | 4 | 4 | 6.3 | 6.3 | 6.3 | 6.3 |
| menit | 0.8 | 0.8 | 0.8 | 1.25 | 1.25 | 1.25 | 1.25 | 1.6 | 2 | 2 | 2 | 2 | 3.15 | 3.15 | 3.15 | 3.15 | |
| b≈ | 2 | 2.4 | 3 | 3 | 3.2 | 4 | 5 | 6.4 | 8 | 10 | 12.6 | 16 | 20 | 26 | 32 | 40 | |
| C | maks | 1 | 1.4 | 1.8 | 2 | 2.8 | 3.6 | 4.6 | 5.8 | 7.4 | 9.2 | 11.8 | 15 | 19 | 24.8 | 30.8 | 38.5 |
| menit | 0.9 | 1.2 | 1.6 | 1.7 | 2.4 | 3.2 | 4 | 5.1 | 6.5 | 8 | 10.3 | 13.1 | 16.6 | 21.7 | 27 | 33.8 | |
Pin split yang Hemat Biaya terutama digunakan untuk menjaga agar suku cadang tidak lepas pada mesin, mobil, dan peralatan. Tugasnya adalah menghentikan baut, poros, atau pin lainnya agar tidak terlepas akibat getaran. Misalnya, pada mobil, Anda akan sering menemukan pin terpisah pada hub roda atau suspensi untuk membantu menjaga keamanan.
Pada mesin pabrik, pin belah dapat digunakan pada engsel atau sambungan bergerak untuk menjaga semuanya tetap sejajar. Di kapal, ia dapat menahan perangkat keras seperti gerigi sepatu di tempatnya. Untuk penggunaan sehari-hari, Anda dapat menggunakan pin belah untuk mengamankan pisau pemotong rumput atau pedal sepeda. Anda cukup mendorong pin belah melalui lubang dan membengkokkan kedua cabangnya – ini adalah cara sederhana untuk membuat sambungan yang dapat dipegang dengan aman namun masih dapat dilepas saat diperlukan.
Pertanyaan: Bisakah Anda memberikan sertifikat untuk pin split yang Hemat Biaya?
Jawaban: Ya, kami dapat memberi Anda sertifikasi material untuk pin tersebut. Hal ini menunjukkan bahwa kami memenuhi standar seperti ISO 1234. Hal ini memastikan pin terpisah yang Anda dapatkan sesuai dengan spesifikasi mekanis dan dimensi yang kami sepakati.
